手動焊接閘閥的概述
手動焊接閘閥有三種蓋設計形式。第一種是螺栓式閥蓋,按這種設計形式設計的閥門,其閥體與閥蓋用螺栓螺母連接,纏繞式墊片(316夾柔性石墨制造)密封?蛻粲刑厥庖髸r也可采用金屬環連接。第二種設計形式是焊接式閥蓋,按這種設計形式的閥門,其閥體與閥蓋用螺紋連接,全焊密封?蛻粲刑厥庖髸r也可采用全焊透連接。第三種是壓力自緊式閥蓋,按這種設計形式設計的閥門,其閥體與閥蓋用螺紋連接,內壓自密環密封。
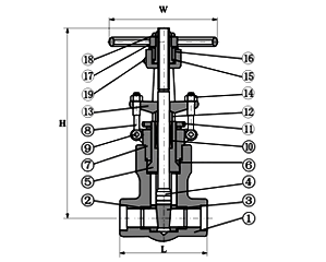
手動焊接閘閥結構解剖圖


手動焊接閘閥標準材質明細表
| 序號 |
零件名稱 |
CS to ASTM |
AS to ASTM |
SS to ASTM |
| A105 |
F22 |
F304(L) |
F316(L) |
| 1 |
閥體 |
A105 |
A182 F22 |
A182 F304(L) |
A182 F316(L) |
| 2 |
閥座 |
A276 420 |
A276 304 |
A276 04(L) |
A276 316(L) |
| 3 |
閘板 |
A182 F430&410 |
A182 F304 |
A182 F304(L) |
A182 F316(L) |
| 4 |
閥桿 |
A182 F6 |
A182 F304 |
A182 F304(L) |
A182 F316(L) |
| 5 |
密封螺母 |
A105 |
A182 F304 |
A182 F304(L) |
F316(L) |
| 6 |
密封環 |
A216 304L |
A276 316L |
| 7 |
閥蓋 |
A105 |
A182 F22 |
A182 F304(L) |
A182 F316(L) |
| 8 |
活節螺栓 |
A193 B7 |
A193 B16 |
A193 B8(M) |
| 9 |
銷釘 |
A276 F420 |
A182 F304(L) |
| 10 |
填料 |
柔性石墨 |
PTFE |
| 11 |
提升螺栓 |
A194 2H |
A194 4 |
A194 8 |
A194 8M |
| 12 |
填料壓套 |
A276F 420 |
A182 F304 |
| 13 |
填料壓板 |
A216 WCB |
A182 F304 |
| 14 |
螺母 |
A194 2H |
A194 4 |
A194 8 |
A194 8M |
| 15 |
閥桿螺母 |
A276 410 |
| 16 |
固定螺母 |
A194 2H |
A194 4 |
A194 8 |
A194 8M |
| 17 |
手輪 |
A197 |
| 18 |
鎖緊螺母 |
A194 H |
A194 4 |
A194 8 |
A194 8M |
| 19 |
油嘴 |
銅 |
| 適用介質 |
水、蒸汽、油品等 |
水、蒸汽、油品等 |
硝酸、醋酸等 |
| 適用溫度 |
—29℃~425℃ |
—29℃~550℃ |
—29℃~200℃ |
注意:客戶需求的其他材質也可采用.密封面材料配對客戶指定內件代號決定
CS=碳鋼;AS=合金鋼;SS=不銹鋼;
手動焊接閘閥尺寸(MM)和重量(KG)
| NPS |
1/2" |
3/4" |
1" |
11/4" |
11/2" |
2" |
| L |
900Lb-150Lb |
140 |
140 |
140 |
178 |
178 |
216 |
| 2500Lb |
186 |
186 |
186 |
232 |
232 |
279 |
| H(開) |
321 |
321 |
321 |
380 |
414 |
502 |
| W |
160 |
160 |
180 |
200 |
250 |
280 |
| 重量 |
900LB-1500LB |
11.5 |
10.8 |
10.5 |
19.6 |
21.0 |
55.4 |
| 2500LB |
12.3 |
11.6 |
10.8 |
26.0 |
28.4 |
60.0 |
訂貨須知:
一、①手動焊接閘閥產品名稱與型號②手動焊接閘閥口徑③手動焊接閘閥是否帶附件以便我們的為您正確選型。
二、若已經由設計單位選定正鋼閥門手動焊接閘閥型號,請按手動焊接閘閥型號直接向我司銷售部訂購。
三、當使用的場合非常重要或環境比較復雜時,請您盡量提供設計圖紙和詳細參數,由我們的正鋼閥門專家為您審核把關。